4001-024-066
-
地址:遼寧省沈陽市蘇家屯區迎客松一路33-8號
-
咨詢電話:4001-024-066
-
郵箱:lnyw@yw-ln.com


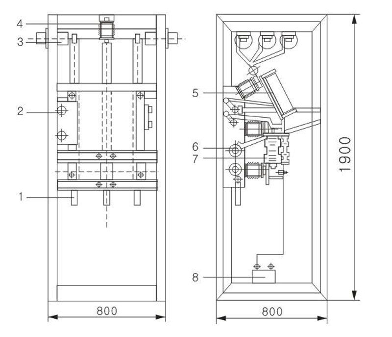
HXGN15A-12(F·R)型固定式戶內交流金屬封閉環網開關設備是為城市電網改造和建設需要而生產的新型高壓開關柜。在供電系統中亦作為開斷負荷電流和短路電流以及關合短路電流之用,適用于交流3~12kV、50Hz的配電系統中。廣泛地用于城市電網建設和改造工程、工礦企業、高層建筑和公共設施等,作為環網供電單元和終端設備,起著電能的分配、控制和電氣設備的保護作用,也可以裝在預裝變電站中。
●柜體為組裝式結構,全金屬封閉結構,其防護等級達IP3X。
●柜內主要原件真空負荷開關(壓氣式負荷開關,六氟化硫負荷開關),可以與熔斷器、接地開關、電壓互感器、電流互感器配套使用或單獨使用,滿足運行的不同要求,開斷負荷電流和短路電流及關合短路電流
●裝有限流式帶有撞擊器觸動脫扣裝置的熔斷器。
●具有明顯隔離斷口、操作聯動機構及聯鎖機構。
內部結構布置圖
地址:遼寧省沈陽市蘇家屯區迎客松一路33-8號
咨詢電話:4001-024-066
郵箱:lnyw@yw-ln.com
